Компания Infineon анонсировала новый радарный датчик BGT60CUTR13AIP из линейки Xensiv. Этот компактный датчик с частотой 60 ГГц предназначен для обнаружения движения и присутствия на малых расстояниях в потребительских, промышленных и IoT-устройствах. Этот релиз подчёркивает стремление Infineon реализовать возможности радаров с более высоким разрешением в компактных форм-факторах, снижая сложность проектирования, обычно связанную с радиочастотными системами.
Сочетая широкую рабочую полосу пропускания с принципом «антенны в корпусе», датчик может помочь инженерам интегрировать радары в продукты, где оптические или ультразвуковые решения могут оказаться неэффективными, особенно в сложных условиях освещения или окружающей среды. Infineon заявляет, что новый датчик — один из многих, направленных на создание нового поколения «физического ИИ». В отличие от генеративного ИИ, физический ИИ оптимизирован для взаимодействия с реальным миром посредством роботов, камер и автономных систем.
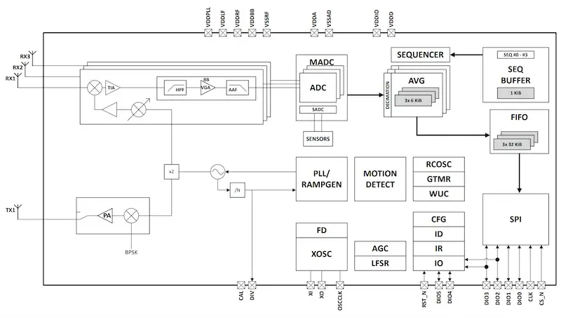
Полностью интегрированная архитектура
Компания Infineon создала свой новый радар на основе полностью интегрированной архитектуры FMCW 60 ГГц, объединив РЧ-интерфейс, антенны и управляющую логику в едином корпусе с антенной. Такой подход значительно снижает сложность, традиционно связанную с компоновкой, согласованием и настройкой корпуса в миллиметровом диапазоне, предоставляя инженерам более предсказуемую отправную точку для приложений ближнего зондирования. Встраивая антенны непосредственно в корпус, компания Infineon стремится обеспечить стабильные радиочастотные характеристики различных изделий без необходимости привлечения специализированных специалистов в области радиочастот.
Кроме того, Infineon объединяет всю цепочку обработки сигналов радара частотой 60 ГГц в одном устройстве. С левой стороны расположен ВЧ-интерфейс, где передающий и приёмный тракты обеспечивают усиление, фильтрацию и понижение частоты. Эти сигналы поступают на встроенный АЦП и секвенсор, которые управляют сбором данных и их усреднением перед отправкой результатов в буфер FIFO. Встроенная схема ФАПЧ генерирует импульсы частотной модуляции FMCW, а логика обнаружения движения и калибровки сокращает нагрузку на главный микроконтроллер. Наконец, все обработанные данные доступны через простой интерфейс SPI, что упрощает интеграцию системы.
Предоставление стабильных данных о дальности, доплеровском сдвиге и микродвижениях
Широкая полоса модуляции датчика обеспечивает высокое разрешение по дальности, позволяя ему фиксировать даже самые мелкие движения — жесты рук, изменения положения тела или даже микродвижения — более надежно, чем альтернативы с более узкой полосой пропускания. Несколько каналов передачи и приема обеспечивают более глубокую пространственную ориентацию, позволяя осуществлять зонное обнаружение или простую угловую оценку без использования больших внешних антенных решеток.
Для упрощения системной интеграции устройство оснащено встроенным конечным автоматом, который автономно управляет последовательностью импульсов и синхронизацией. Разгрузка этих задач снижает нагрузку на главный процессор и повышает согласованность между циклами обработки сигналов. Благодаря оптимизированному цифровому интерфейсу разработчики могут получать доступ к необработанным или частично обработанным радиолокационным данным в зависимости от своих требований к производительности и вычислительным ресурсам.
В совокупности эти архитектурные решения позиционируют датчик как компактный высокоточный строительный блок для встраиваемых систем. Более того, хотя датчик не использует встроенные нейронные сети, его данные о движении и присутствии высокого разрешения служат мощным интерфейсом для конвейеров периферийного ИИ. Предоставляя стабильную информацию о диапазоне, доплеровском сдвиге и микродвижениях, устройство позволяет применять такие приложения, как распознавание жестов, анализ занятости и мониторинг основных показателей в сочетании с легкими моделями машинного обучения на главном процессоре.
Для упрощения системной интеграции устройство оснащено встроенным конечным автоматом, который автономно управляет последовательностью импульсов и синхронизацией. Разгрузка этих задач снижает нагрузку на главный процессор и повышает согласованность между циклами обработки сигналов. Благодаря оптимизированному цифровому интерфейсу разработчики могут получать доступ к необработанным или частично обработанным радиолокационным данным в зависимости от своих требований к производительности и вычислительным ресурсам.
В совокупности эти архитектурные решения позиционируют датчик как компактный высокоточный строительный блок для встраиваемых систем. Более того, хотя датчик не использует встроенные нейронные сети, его данные о движении и присутствии высокого разрешения служат мощным интерфейсом для конвейеров периферийного ИИ. Предоставляя стабильную информацию о диапазоне, доплеровском сдвиге и микродвижениях, устройство позволяет применять такие приложения, как распознавание жестов, анализ занятости и мониторинг основных показателей в сочетании с легкими моделями машинного обучения на главном процессоре.
Растущие возможности применения радаров миллиметрового диапазона
С точки зрения рынка, этот релиз появился на фоне продолжающегося роста популярности радаров миллиметрового диапазона в потребительском, промышленном секторах и секторах автоматизации зданий. Разработчики всё чаще выходят за рамки традиционных оптических и ультразвуковых датчиков, отдавая предпочтение радарам за их способность работать в условиях низкой освещённости, обеспечивать конфиденциальность и обнаруживать едва заметные движения. Конкуренты, такие как Texas Instruments, NXP и несколько новых производителей радарных модулей, также нацеливаются на эту нишу, предлагая различные варианты пропускной способности, профиля мощности и уровня интеграции.
Подход Infineon, сочетающий широкополосную производительность с конструкцией «антенна в корпусе», позиционирует устройство как выгодное решение для разработчиков, которым требуется более высокое разрешение датчиков без сложного цикла разработки радиочастотных компонентов. В перспективе общая тенденция указывает на более интеллектуальные конечные точки радаров, которые предлагают подсчёт людей, зонирование, обнаружение падений и даже базовый мониторинг жизненно важных функций. По мере того, как эти возможности становятся всё более доступными, компактные датчики, подобные этому, вероятно, будут играть центральную роль в платформах Интернета вещей и промышленных платформах следующего поколения.
Подход Infineon, сочетающий широкополосную производительность с конструкцией «антенна в корпусе», позиционирует устройство как выгодное решение для разработчиков, которым требуется более высокое разрешение датчиков без сложного цикла разработки радиочастотных компонентов. В перспективе общая тенденция указывает на более интеллектуальные конечные точки радаров, которые предлагают подсчёт людей, зонирование, обнаружение падений и даже базовый мониторинг жизненно важных функций. По мере того, как эти возможности становятся всё более доступными, компактные датчики, подобные этому, вероятно, будут играть центральную роль в платформах Интернета вещей и промышленных платформах следующего поколения.